APlusLift 10,000LB 2-Post Overhead Symmetrical, Asymmetrical Single Release Car Lift #HW-10ASY
Couldn't load pickup availability
-
DESCRIPTION
APlusLift 10,000LB 2-Post Overhead Symmetrical and Truly Asymmetrical Single Release Car Lift with 3 Year Warranty - HW-10ASY
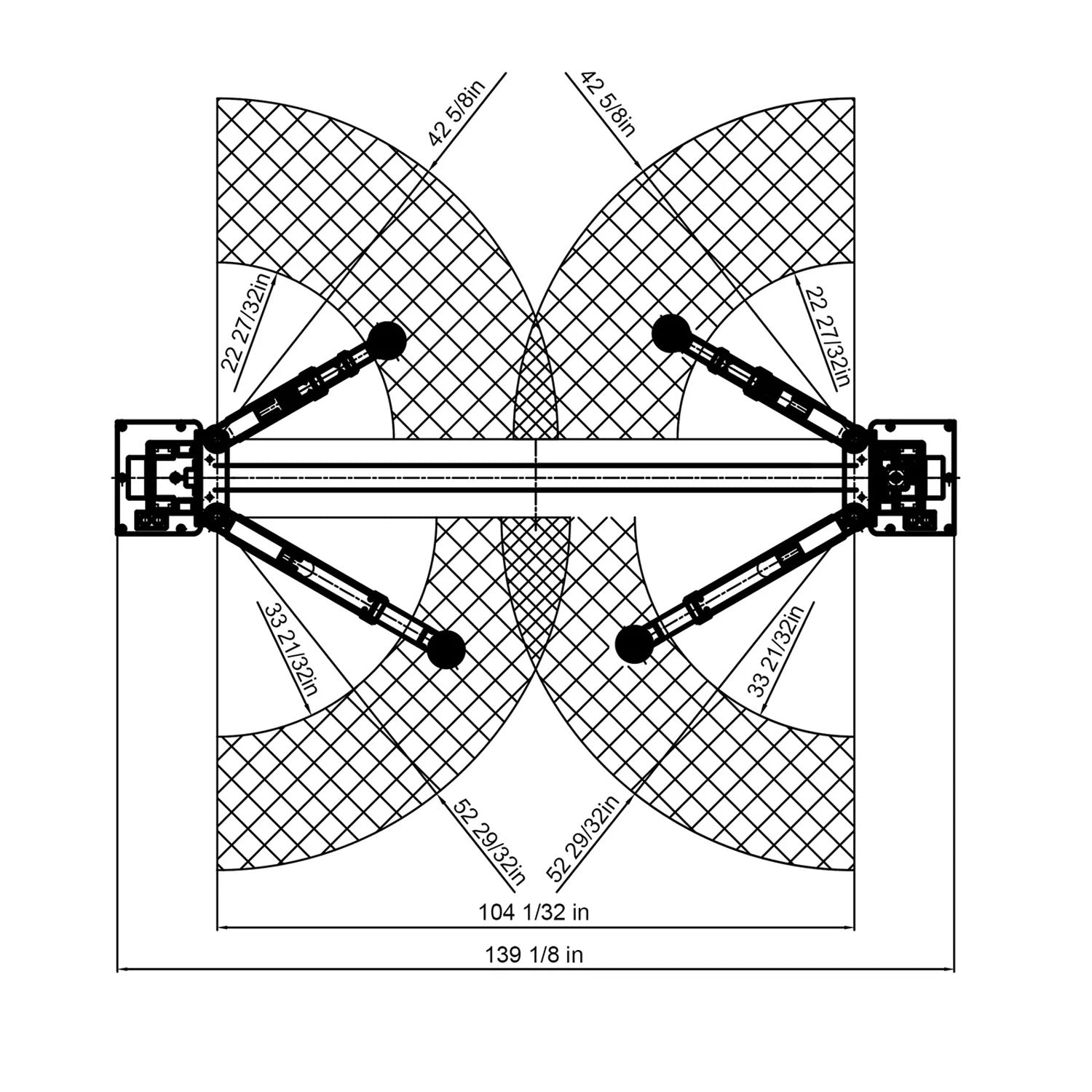
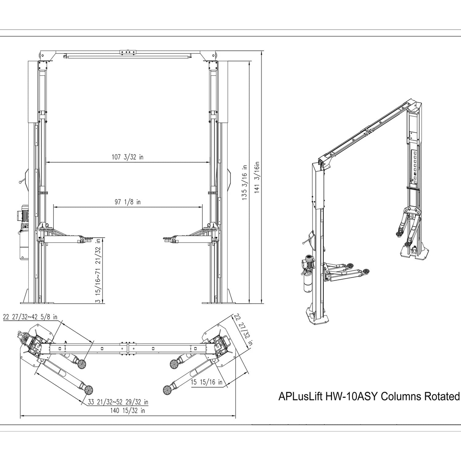
APlusLift HW-10ASY car lift (auto hoist) is one of the most affordable overhead symmetrical and asymmetrical car lifts built with quality materials and good workmanship. It is an upgrade from the bestselling HW-10KOH-A model, featuring a single-point lock release, and updates the AP-10SR model with an option to install columns in an accurate asymmetrical way. That is, the columns can be installed facing each other (symmetrical installation) or with a 30-degree rotation to maximize door opening and vehicle access (asymmetrical installation). The lift has a strong double "S" column design to support 10,000 LB capacity.
2 Post Lifts
- Industry-leading 3 YEAR WARRANTY (a $499 value!)
- Single Point Safety Lock Release System
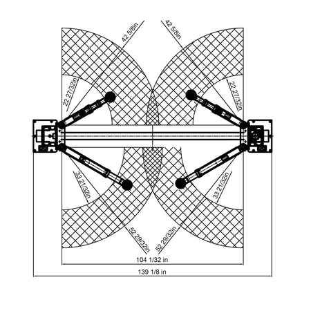
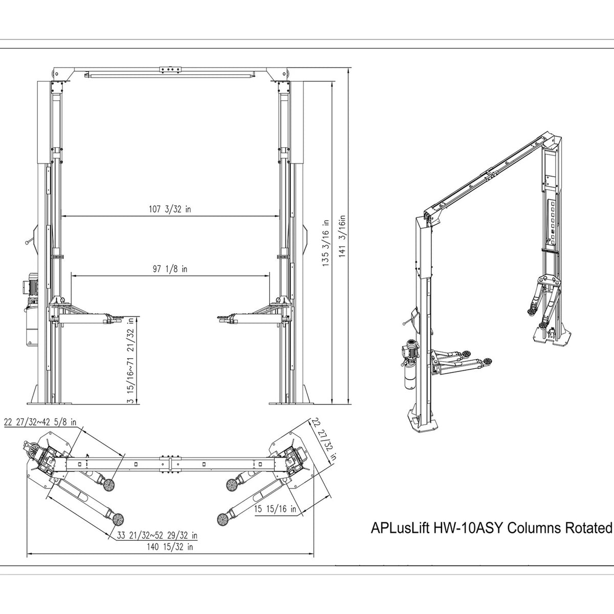
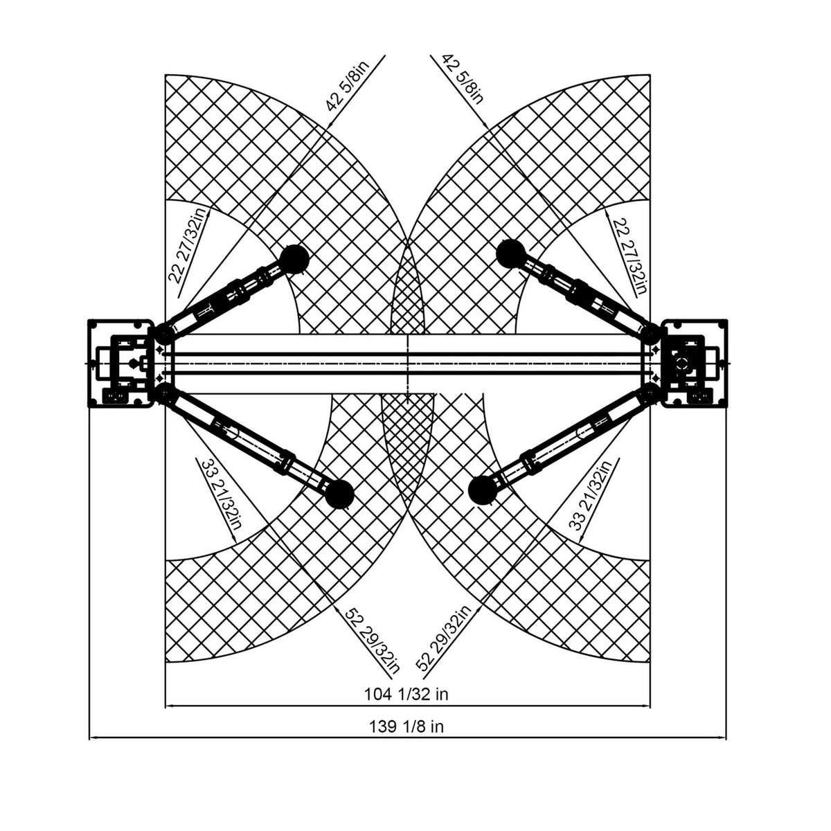
- Supports Symmetrical Installation with Columns Facing Each Other or Asymmetrical Installation with Columns Rotated 30 Degrees!
- 104" Drive Through Width with Symmetrical Installation and 97" Drive Through Width with Asymmetrical Installation
- Combo (Symmetrical and Asymmetrical) Arm Assembly with Adjustable Screw Pads!
- CE Certified Lift Structure and Hydraulic System - Tested for 115% Dynamic Load Capacity and 150% Static Load Capacity
- One Set of 4" Tall Truck Adapters Included; 6'9" Lift Height Maximum with Truck Adapters
- All Robot Welded Structure with Durable Powder Coated Finish
Parts Included:
- 4 pieces of adjustable screw pads
- 4 pieces of 4" tall truck adapters (height extensions)
- 10 anchor bolts
- 10 shims
- 2 tool trays
- 2 toe guards
-
FEATURES + BENEFITS
- CE-certified lift structure and hydraulic system
- Third-party tested with a dynamic load capacity of 115%
- Third-party tested with a static load capacity of 150%
- Durable hydraulic system
- Easy to operate and maintain
- Single-point safety lock release
- Double seal rings protecting PU material
- Carriage material Q355 (ASTM A572), stronger than normal Q235 steel
- Lifting operation by pressing the "UP" button on the motor
- Manual lowering operation by pressing the lever
- Relief valve built-in power pump to prevent overloading
- Automatic arm lock restraints
- Relief valve built-in power pump to prevent overloading
- Door guard protection rubber
- Upper limit switch to protect the cylinders' working stroke used in a safe length scope
- Heavy-duty 3/8" diameter cable and 5" pulley that reduces high stress on the synchronization process and increases cable life
- An ultra-high molecular self-lubricating nylon slider that ensures the carriage moves smoothly up and down
-
SPECIFICATIONS
Model HWY-10SY Style Overhead Column Installation Symmetric or Asymmetric (combo)
Arm Arrangement Symmetric or Asymmetric (combo)
Lock Release
Single Point Release
Warranty
3 years (36 months) Lifting Capacity
10,000 lbs Overall Height
141 3/16"
Overall Width
139 1/8" (standard) 140 15/32" (post rotated)
Maximum Lift height with Truck Adapters
81"
Maximum Lift height without Truck Adapters
75" Maximum lift height from the bottom of the arm to the ground
71" Minimum Height for adjustable pads from the ground 4" Drive Through Width (Carriage to Carriage) 104" (Symmetric)
97" (Asymmetric)Column to Column Width 113" (Symmetric)
107" (Asymmetric)Column Cross Section 11"L x 7"W
Driving Mode Dual hydraulic cylinders, chain drive Motor 220V Single Phase 3HP 10A (recommend a 30A Breaker) Hydraulic Oil 3-5 gallons AW32/AW46 (not included) Time to full rise 50 seconds Shipping Weight 1470 lbs and 120 lbs Shipping package size 113"L x 22"W x 40"H (car lift)
33L x 17"W x 14"H (2ft height extension crate)Concrete Requirement 6" thick at 3500 psi reinforced with fiberglass or steel (4" thick for vehicles 9000 lbs and below) Arm Assembly Combo (symmetrical and asymmetrical Arm Assembly) Front Arms Straight Front 3 Stage reach from 22 7/8" to 42 5/8" Back Arms Straight Rear 2 Stage reach from 33 7/8" to 52 7/8" Column Steel Thickness 13/64" Carriage Steel Thickness 15/64" Carriage Yoke Thickness 9/16" Arm Steel Thickness 15/64" Base Plate Steel Thickness 5/8" -
WARRANTY
Warranty Information
- 3-Year Structural Components Warranty
- 1-year Parts Warranty
- 3-Year Structural Components Warranty
Shipping Information:
Customers may pick up their lift at the nearest freight terminal at no additional cost.
You will need to provide your own trailer. Terminal staff will safely load the lift onto your trailer. The RECEIVER/CUSTOMER is solely responsible for properly securing the load for transport.
To schedule a pickup, contact us at info@alamoequipment.com or
(817) 865-3707. Please include the lift model and your zip code so we can direct you to the appropriate terminal.
Warranty Information
- 3-Year Structural Components Warranty
- 1-year Parts Warranty
